Tesla nộp bằng sáng chế cần gạt nước thông minh
Tesla mới nộp đơn xin cấp bằng sáng chế cho cần gạt nước có động cơ điện tử, được cho rằng sẽ hoạt động hiệu quả hơn và mang lại tuổi thọ cao hơn các thiết kế động cơ gạt nước thông thường.
LIÊN HỆ LÁI THỬ - MUA TRẢ GÓP - ƯU ĐÃI
Bạn muốn đặt hotline tại đây? Liên hệ:

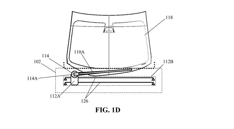
Bằng sáng chế cần gạt nước mới của Tesla
Thay vì cấu tạo điển hình một motor và một cần gạt nước thường thấy trên những chiếc xe mới và dựa trên công nghệ đã có từ hàng thập kỷ trước, bằng sáng chế của Tesla đề nghị lắp đặt các đế cần gạt nước trên các khối di chuyển qua lại trên ray dẫn hướng. Dòng điện chạy qua các cuộn dây trong các khối lắp đặt sẽ kích hoạt nam châm điện, khiến các khối di chuyển dọc theo đường ray với gần như không có ma sát. Bản vẽ của Tesla cho thấy cả lưỡi gạt đơn và kép.

Bằng sáng chế của Tesla được nộp trước đó vào tháng 9 và được phát hiện bởi Road&Track, nó mô tả nhiều lợi ích của thiết kế mới này đối với hệ thống thông thường. Đối với người mới bắt đầu, thiết kế gạt nước này sẽ không có tổn thất về tham số ký sinh (của một mạch điện tử) như của các thiết kế thông thường vì năng lượng tạo ra được sử dụng để tạo ra chuyển động của cần gạt và các bộ phận động cơ khác.
Hệ thống điện từ cũng sẽ không cần năng lượng cần thiết để vượt qua lực ma sát đối với thiết bị này vì các khối mà cần gạt nước được gắn vào về cơ bản sẽ nổi trên đường ray dẫn hướng thay vì cọ xát với chúng.

Tesla cũng quan tâm đến tuổi thọ của thiết kế. Việc không có ma sát nghĩa là ít hao mòn qua thời gian từ đó hoạt động chính xác và dễ dự đoán hơn trong suốt vòng đời sử dụng của Tesla. Điều này đặc biệt quan trong đối với những gã khủng lồ về xe điện vì họ có kế hoạch tung ra những phiên bản cao cấp hơn của bộ phận tự lái, đòi hỏi khả năng hiển thị phía trước tuyệt vời để camera của xe có thẻ hoạt động hiệu quả.

Vẫn còn phải xem xét liệu thiết kế mới này có tác động nhiều (nếu có) đến mức tiêu thụ năng lượng của xe trên diện rộng hay không. Chắc chắn những chủ sở hữu của những chiếc Tesla vùng California đầy nắng sẽ thấy điều này đem lại ít lợi ích nhưng chúng tôi tò mò muốn xem Tesla có thể làm gì khác cho các hệ thống như hệ thống cần gạt nước này đã được nhắc đến rất ít kể từ khi nó được giới thiệu.
Người Việt quan tâm đến mẫu xe nào
-
Xe Hybrid: 'Cầu nối' chiến lược trong lộ trình chuyển đổi xanh tại Việt Nam
-
Xe xăng vẫn giữ vững 'thánh địa' đặc thù trước làn sóng điện hóa
-
Cấu trúc thị trường ô tô thay đổi: Xe điện vươn lên giữa đà sụt giảm của xe xăng
-
Thị trường xe sang cũ 2025: Khi cánh cửa sở hữu ngày càng mở rộng
-
Giá ô tô cũ phân hóa mạnh: Xe A, B giảm sâu, nhóm gầm cao tăng sức nóng